DIN 603 – Śruby z łbem grzybkowym
DIN 603 to śruby z łbem grzybkowym i czworokątnym podszyciem pod łbem, wykorzystywane głównie w połączeniach drewnianych i metalowych. Śruby DIN 603 ze stali nierdzewnej A2 lub kwasoodpornej A4 gwarantują odporność na korozję oraz estetyczny wygląd połączenia, bez wystających elementów montażowych.
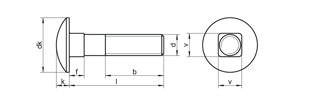
Schemat
Wymiary
| dk min. | 12,45 | 15,45 | 19,34 | 23,35 | 29,35 | 37,2 |
| f min. | 2,9 | 3,4 | 4,4 | 5,4 | 7,25 | 11,1 |
| k min. | 2,7 | 3,12 | 4312 | 4,62 | 6,05 | 8,05 |
| v min. | 4,52 | 5,52 | 7,42 | 9,42 | 11,3 | 15,3 |
| b≤125 | 16 | 18 | 22 | 26 | 30 | 38 |
| b>125 | 22 | 24 | 28 | 32 | 36 | 44 |
| Długość / Ø | M5 | M6 | M8 | M10 | M12 | M16 |
| 12 | ||||||
| 16 | ||||||
| 20 | ||||||
| 25 | ||||||
| 30 | ||||||
| 35 | ||||||
| 40 | ||||||
| 45 | ||||||
| 50 | ||||||
| 55 | ||||||
| 60 | ||||||
| 65 | ||||||
| 70 | ||||||
| 75 | ||||||
| 80 | ||||||
| 90 | ||||||
| 100 | ||||||
| 110 | ||||||
| 120 | ||||||
| 130 | ||||||
| 140 | ||||||
| 150 | ||||||
| 160 | ||||||
| 170 | ||||||
| 180 | ||||||
| 200 | ||||||
| JS | 200 | 200 ≥ 60 100 | 100 ≥ 70 50 | 100 ≥ 50 50 | 50 | 25 |
A1 / A2 / A4 | JS: Jednostka sprzedaży | Wszystkie wymiary podane w mm | Inne wymiary na zapytanie
Zapytaj o produkt
Pomożemy Ci dobrać rozwiązanie dopasowane do Twoich potrzeb.
Nasz dział Obsługi Klienta skontaktuje się z Tobą i omówi dalszą współpracę!



