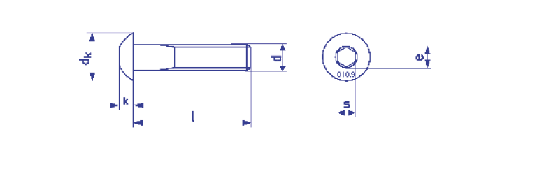
Schemat
Wymiary
| d | M3 | M4 | M5 | M6 | M8 | M10 | M12 |
| dk | 5,7 | 7,6 | 9,5 | 10,5 | 14 | 17,5 | 21 |
| k max | 1,65 | 2,2 | 2,75 | 3,3 | 4,4 | 5,5 | 6,6 |
| t min | 1,04 | 1,3 | 1,56 | 2,08 | 2,6 | 3,12 | 4,16 |
| e min | 2,303 | 2,873 | 3,443 | 4,583 | 5,723 | 6,863 | 9,149 |
| s | 2 | 2,5 | 3 | 4 | 5 | 6 | 8 |
| l | |||||||
| 4 | 3×4 | ||||||
| 5 | 3×5 | ||||||
| 6 | 3×6 | 4×6 | 5×6 | 6×6 | |||
| 8 | 3×8 | 4×8 | 5×8 | 6×8 | |||
| 10 | 3×10 | 4×10 | 5×10 | 6×10 | 8×10 | ||
| 12 | 3×12 | 4×12 | 5×12 | 6×12 | 8×12 | ||
| 14 | 5×14 | 6×14 | 8×14 | ||||
| 16 | 3×16 | 4×16 | 5×16 | 6×16 | 8×16 | 10×16 | |
| 18 | 8×18 | ||||||
| 20 | 4×20 | 5×20 | 6×20 | 8×20 | 10×20 | 12×20 | |
| 25 | 4×25 | 5×25 | 6×25 | 8×25 | 10×25 | 12×25 | |
| 30 | 4×30 | 5×30 | 6×30 | 8×30 | 10×30 | 12×30 | |
| 35 | 5×35 | 6×35 | 8×35 | 10×35 | 12×35 | ||
| 40 | 5×40 | 6×40 | 8×40 | 10×40 | 12×40 | ||
| 45 | 6×45 | 8×45 | 10×45 | ||||
| 50 | 6×50 | 8×50 | 10×50 | ||||
| 55 | 6×55 | 8×55 | |||||
| 60 | 6×60 | 8×60 | 10×60 | ||||
| 65 | 8×65 | ||||||
| 70 | 8×70 | 10×70 | |||||
| 80 | 8×80 | ||||||
| 90 | 8×90 |
Zapytaj o produkt
Pomożemy Ci dobrać rozwiązanie dopasowane do Twoich potrzeb.
Nasz dział Obsługi Klienta skontaktuje się z Tobą i omówi dalszą współpracę!



